DF-2
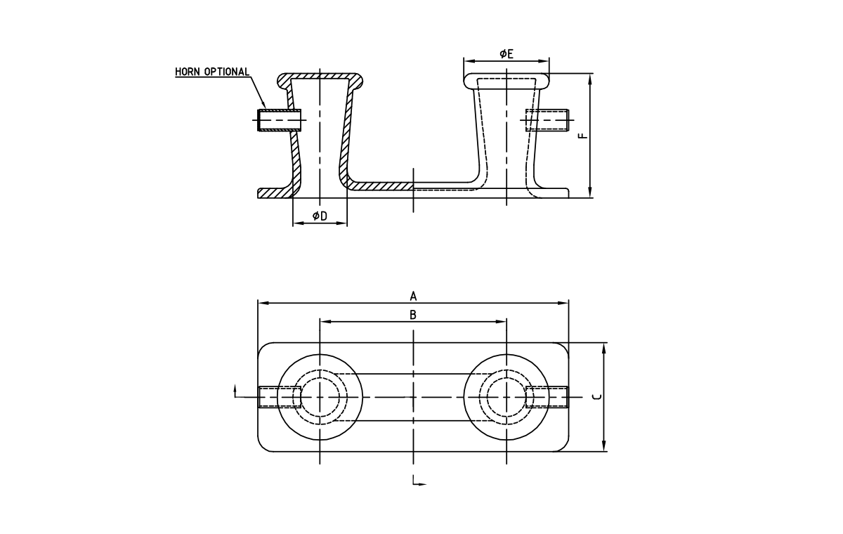
DF-2/2A/40/40A鋳鋼ダブルビット
| モデル番号 | A | B | C | φd | φe | F | wt。(lbs) | ホーン |
| DF-2 | 40 ' | 24 ' | 14 ' | 7 ' | 11 ' | 16 ' | 375 | × |
| DF-2A | 40 ' | 24 ' | 14 ' | 7 ' | 11 ' | 16 ' | 385 | √ |
| DF-40 | 45 ' | 27 ' | 15 ' | 9 ' | 13 1/2 ' | 18 ' | 545 | × |
| DF-40A | 45 ' | 27 ' | 15 ' | 9 ' | 13 1/2 ' | 18 ' | 560 | √ |
ASTM A27グレードのキャストスチール から構築されたこのダブルビットは、マルチライン係留用のデュアルポストを提供し、港湾操作中のロープ管理の柔軟性を提供します。DF 高さ36インチのポスト間隔で高さ36インチの-2-40Aは、 1200 kN(122トン)の安全な作業荷重(SWL)を提供し 、バルクキャリア、クルーズ船、および堅牢な係留ソリューションを必要とするオフショアプラットフォームに最適です。そのワンピースキャスティングデザインは、溶接の脆弱性を排除し、極端な気象条件での信頼性を確保します。
DF-2-40Aは、その構造全体に 熱処理されたASTM A27鋳造鋼を利用しており 、優れた耐摩耗性のために180 BHNの最小硬度を達成します。非破壊検査(NDT)はゼロの内部欠陥を確認しますが、ワンピース製造プロセスは溶接代替品で一般的な潜在的な障害点を排除します。この構造により、BITTは、永久的な変形なしに、嵐の状態でSWLの最大150%までの突然の負荷スパイクに耐えることができます。
20インチの間隔で2つのポストを特徴とする 直径12インチの ダブルビット構成により、複数の係留ラインを同時に安全に削ることができます。各投稿には、ロープの縮小を防ぐための3インチの面取りを備えた丸いトップが含まれていますが、8インチのベースフランジはデッキ構造全体に荷重を均等に分散しています。この設計には、直径50mmから100mmの合成および鋼の係留ラインが対応し、多用途のポート操作をサポートします。
BITTは 、SA 2.5標準へのサンドブラスト、亜鉛に富むエポキシプライマー(厚さ120μm)の適用、および海洋グレードのポリウレタントップコートを含むこのシステムは、ASTM B117テストごとに1,500時間以上の塩スプレー耐性を提供し、過酷な塩水環境での長期性能を確保します。ベースの排水チャネルは、取り付けエリアの周りの水の蓄積を防ぎます。 多段階表面処理プロセスを受けます。
デュアルポスト設計により、複数の係留ラインを独立して固定し、ラインの干渉を減らし、各ラインの正確な張力調整を可能にします。この構成は、重要なberthing操作中に冗長性を提供し、1つのラインが調整またはメンテナンスが必要な場合、継続的な係留セキュリティを確保します。
BITTは、フィッティングを係留するための ISO 15621の 要件を満たしており、ABSおよびDNVによって認定されています。その設計には、国際海域で動作する乗客と貨物船のソラの推奨事項を超える安全係数が組み込まれています。
DF-2-40Aは、 Panamax Container Ships , Cruise Linersと、 高い係留荷重と複数のライン管理が不可欠な堅牢な構造により、桟橋やドッキング施設などのポートインフラストラクチャにも適しています。 オフショア掘削リグに最適です。
毎月の検査では、腐食、ライン摩耗パターン、および取り付けボルトの緊張をチェックする必要があります。表面コーティングは、互換性のある海洋グレード塗料で毎年触れる必要があり、NDTテストは5年ごとに構造の完全性を検証することをお勧めします。
取り付けには、 連続したフィレット溶接会議D1.1基準を使用して、容器の主要な構造メンバーへの係留ウインチと荷物との適切なアライメントは重要であり、ビットの中心線はラインプル方向の3°以内に配置され、側面の負荷を防ぎます。 溶接された付着が必要です。
DF-2/2A/40/40A鋳鋼ダブルビット
| モデル番号 | A | B | C | φd | φe | F | wt。(lbs) | ホーン |
| DF-2 | 40 ' | 24 ' | 14 ' | 7 ' | 11 ' | 16 ' | 375 | × |
| DF-2A | 40 ' | 24 ' | 14 ' | 7 ' | 11 ' | 16 ' | 385 | √ |
| DF-40 | 45 ' | 27 ' | 15 ' | 9 ' | 13 1/2 ' | 18 ' | 545 | × |
| DF-40A | 45 ' | 27 ' | 15 ' | 9 ' | 13 1/2 ' | 18 ' | 560 | √ |
ASTM A27グレードのキャストスチール から構築されたこのダブルビットは、マルチライン係留用のデュアルポストを提供し、港湾操作中のロープ管理の柔軟性を提供します。DF 高さ36インチのポスト間隔で高さ36インチの-2-40Aは、 1200 kN(122トン)の安全な作業荷重(SWL)を提供し 、バルクキャリア、クルーズ船、および堅牢な係留ソリューションを必要とするオフショアプラットフォームに最適です。そのワンピースキャスティングデザインは、溶接の脆弱性を排除し、極端な気象条件での信頼性を確保します。
DF-2-40Aは、その構造全体に 熱処理されたASTM A27鋳造鋼を利用しており 、優れた耐摩耗性のために180 BHNの最小硬度を達成します。非破壊検査(NDT)はゼロの内部欠陥を確認しますが、ワンピース製造プロセスは溶接代替品で一般的な潜在的な障害点を排除します。この構造により、BITTは、永久的な変形なしに、嵐の状態でSWLの最大150%までの突然の負荷スパイクに耐えることができます。
20インチの間隔で2つのポストを特徴とする 直径12インチの ダブルビット構成により、複数の係留ラインを同時に安全に削ることができます。各投稿には、ロープの縮小を防ぐための3インチの面取りを備えた丸いトップが含まれていますが、8インチのベースフランジはデッキ構造全体に荷重を均等に分散しています。この設計には、直径50mmから100mmの合成および鋼の係留ラインが対応し、多用途のポート操作をサポートします。
BITTは 、SA 2.5標準へのサンドブラスト、亜鉛に富むエポキシプライマー(厚さ120μm)の適用、および海洋グレードのポリウレタントップコートを含むこのシステムは、ASTM B117テストごとに1,500時間以上の塩スプレー耐性を提供し、過酷な塩水環境での長期性能を確保します。ベースの排水チャネルは、取り付けエリアの周りの水の蓄積を防ぎます。 多段階表面処理プロセスを受けます。
デュアルポスト設計により、複数の係留ラインを独立して固定し、ラインの干渉を減らし、各ラインの正確な張力調整を可能にします。この構成は、重要なberthing操作中に冗長性を提供し、1つのラインが調整またはメンテナンスが必要な場合、継続的な係留セキュリティを確保します。
BITTは、フィッティングを係留するための ISO 15621の 要件を満たしており、ABSおよびDNVによって認定されています。その設計には、国際海域で動作する乗客と貨物船のソラの推奨事項を超える安全係数が組み込まれています。
DF-2-40Aは、 Panamax Container Ships , Cruise Linersと、 高い係留荷重と複数のライン管理が不可欠な堅牢な構造により、桟橋やドッキング施設などのポートインフラストラクチャにも適しています。 オフショア掘削リグに最適です。
毎月の検査では、腐食、ライン摩耗パターン、および取り付けボルトの緊張をチェックする必要があります。表面コーティングは、互換性のある海洋グレード塗料で毎年触れる必要があり、NDTテストは5年ごとに構造の完全性を検証することをお勧めします。
取り付けには、 連続したフィレット溶接会議D1.1基準を使用して、容器の主要な構造メンバーへの係留ウインチと荷物との適切なアライメントは重要であり、ビットの中心線はラインプル方向の3°以内に配置され、側面の負荷を防ぎます。 溶接された付着が必要です。
DF-274-5 2犬の飼育水密集ハッチ HEE(Changshu Haichuan Engineering&Equipment Co.、Ltd。)が設計したプレミアムマリンデッキフィッティングです。過酷な海洋環境での信頼できる耐水性の重要なニーズに対処するように設計されたこのハッチは、甲板の開口部の保護障壁として機能し、船舶、オフショアプラットフォーム、またはポートインフラストラクチャの内部成分を損傷する可能性のある給水、粉塵の蓄積、腐食を防ぎます。