RJ-3680
HEE
屋外および屋外の作業条件向けに設計されたこの 速効型耐候性ハッチは、 信頼性の高い耐候性シール性能、一人での速動操作、および優れた耐久性を実現し、船舶のオープンデッキ、オフショアプラットフォーム、港湾設備、および産業用屋外施設での人員の通行や機器のメンテナンスに安全で便利なアクセスを提供します。高級鋼の主要構造と耐食性のステンレス鋼のコアコンポーネントで製造されたハッチは、大雨、波しぶき、塩霧、砂、強風などの過酷な要素に耐え、要求の厳しい屋外環境でも長期にわたって安定した性能を保証します。
パラメータ | 仕様 |
モデル番号 | RJ-3680 |
ハッチカバー&コーミング材 | プレミアム構造用鋼 |
シールガスケット材質 | 高弾性ネオプレン |
動作モード | シングルハンドホイールの素早い操作 |
コアのロックおよび回転コンポーネントの材質 | ステンレス鋼 |
ヒンジブッシュの材質 | ナイロン |
密封梱包材 | 黒鉛 |
標準仕上げ | 防食プライマーおよびトップコート |
主なアプリケーション シナリオ | 海洋オープンデッキ、海洋プラットフォーム、港湾施設、産業用屋外設備 |
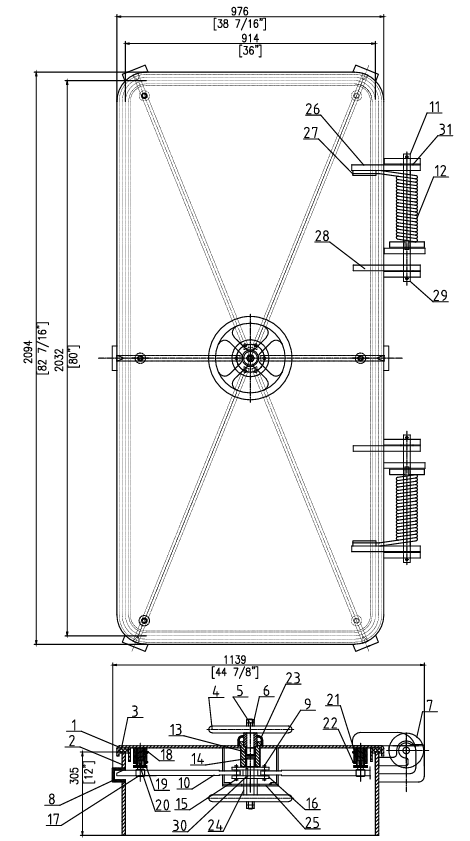
いいえ。 | 名前と仕様 | 材料 |
1 | ハッチカバーアセンブリ | STEEL |
2 | アセンブリのコーミング | STEEL |
3 | ハッチガスケット | ネオプレン |
4 | ハンドホイールアセンブリ | STEEL |
5 | センターシャフト | ステンレス鋼 |
6 | ジャムナッツ | ステンレス鋼 |
7 | スプロケットの調整 | STEEL |
8 | ドッグポケットの組み立て | STEEL |
9 | コッターピン | ステンレス鋼 |
10 | 犬の腕 | ステンレス鋼 |
11 | ヒンジピン | ステンレス鋼 |
12 | ヒンジスプリング | ステンレス鋼 |
13 | ブッシング | ナイロン |
14 | パッキング | 黒鉛 |
15 | ドッグアームピン | ステンレス鋼 |
16 | 回転ブロックアセンブリ | ステンレス鋼 |
17 | スイベルガイド | 真鍮 |
18 | 調整ボタン | STEEL |
19 | スイベルガイドスプリング | ステンレス鋼 |
20 | グリスフィッティング | ステンレス鋼 |
21 | ワッシャー | ステンレス鋼 |
22 | スクリュー | ステンレス鋼 |
23 | スリーブ | STEEL |
24 | スリーブ | STEEL |
25 | シェル | STEEL |
26 | ヒンジブレード | STEEL |
27 | スプリングサポート | STEEL |
28 | スプリング固定器のサポート | STEEL |
29 | コッターピン | ステンレス鋼 |
30 | 鍵 | ステンレス鋼 |
31 | ワッシャー | ステンレス鋼 |
この ハンドホイール操作の耐候性ハッチは 、集中ハンドホイール駆動システムを備えており、工具を使わずに 1 人で数秒で開閉できるため、メンテナンス効率が大幅に向上し、過酷な気象条件での操作時間が短縮されます。
高弾性ネオプレン ガスケットと多点均一ロック構造の組み合わせにより、連続的な耐候性シールを形成し、雨水、波しぶき、砂、塵、風が密閉空間に侵入するのを効果的に遮断し、過酷な屋外要素から内部機器と人員を保護します。
主な構造は、優れた耐衝撃性と耐荷重能力を備えた高強度構造用鋼で製造されており、船舶や海洋プラットフォームへの動的な振動や衝撃荷重に適応し、変形のない長期的な構造的完全性を保証します。
すべてのコアの回転コンポーネント、ロックコンポーネント、およびファスナーコンポーネントはステンレス鋼で作られており、オプションで防食アップグレードを行うことで、塩霧腐食や屋外風化に対する優れた耐性を実現し、耐用年数を延長し、 産業用屋外耐候性アクセスハッチ 用途の長期メンテナンスコストを削減します。
モジュラー設計により、複雑な分解を行わずに、シーリングガスケット、ブッシング、スプリングなどの摩耗部品を迅速に交換できるため、メンテナンスや修理のためのダウンタイムが最小限に抑えられます。
即効 性の耐候性ハッチは、 ハンドル駆動の集中同期ロック システムによって作動します。ハンドホイールを回転させると、中央のステンレススチールシャフトが回転し、調整スプロケットと複数のドッグアームが作動して、同期した均一なロックまたはリリースを実現します。ハンドホイールからの回転トルクは、ハッチ カバーの全周にわたるバランスのとれた圧縮力に変換され、ハッチ カバーとコーミングの間のネオプレン シーリング ガスケットを均等に圧縮して、連続した隙間のない耐候性シールを形成します。バネ補助ヒンジ構造により開く力が軽減され、ナイロン ブッシングとグラファイト パッキンにより回転部品のスムーズで耐摩耗性の高い動作が保証されます。ロック状態では、ハッチは強風、大雨、波しぶきに耐え、屋外や海洋のダイナミックな環境でも安定したシール性能を維持します。
取り付ける前に、取り付け面の開口部のサイズがハッチコーミングの寸法と一致していることを確認し、取り付け後にシーリングガスケットに不均一な応力がかからないよう、取り付け面が平らで水平であることを確認してください。
完全かつ均一な溶接でコーミングを設置ベースに溶接し、コーミングが垂直に位置合わせされ、溶接変形がないことを確認します。溶接後は溶接スラグを除去し、錆や腐食を防ぐために溶接部に防食塗装を施します。
ハンドルホイール、回転軸、ヒンジ部品には 3 か月ごとに防水グリースを塗布してください。 6 か月ごとにネオプレン シーリング ガスケットの摩耗と劣化を検査し、損傷が見つかった場合は直ちに交換してください。一貫した耐候性能を確保するために、ロック ドッグ アームの気密性を毎年確認してください。
はい、海洋オープンデッキ、オフショアプラットフォーム、その他の過酷な屋外海洋環境向けに特別に設計されており、波しぶき、塩霧、大雨、強風、砂浸食に対して優れた耐性を備えています。
はい、シングル ハンドホイールの速動設計により、過酷な気象条件でも、工具を使わずに 1 人で数秒で開閉でき、メンテナンスとアクセスの効率が向上します。
当社は、特定のプロジェクトや用途の要件を満たすために、サイズ調整、溶融亜鉛メッキ仕上げ、フルステンレス鋼構造、カスタムコーミング高さを含むカスタムサービスを提供します。
屋外および屋外の作業条件向けに設計されたこの 速効型耐候性ハッチは、 信頼性の高い耐候性シール性能、一人での速動操作、および優れた耐久性を実現し、船舶のオープンデッキ、オフショアプラットフォーム、港湾設備、および産業用屋外施設での人員の通行や機器のメンテナンスに安全で便利なアクセスを提供します。高級鋼の主要構造と耐食性のステンレス鋼のコアコンポーネントで製造されたハッチは、大雨、波しぶき、塩霧、砂、強風などの過酷な要素に耐え、要求の厳しい屋外環境でも長期にわたって安定した性能を保証します。
パラメータ | 仕様 |
モデル番号 | RJ-3680 |
ハッチカバー&コーミング材 | プレミアム構造用鋼 |
シールガスケット材質 | 高弾性ネオプレン |
動作モード | シングルハンドホイールの素早い操作 |
コアのロックおよび回転コンポーネントの材質 | ステンレス鋼 |
ヒンジブッシュの材質 | ナイロン |
密封梱包材 | 黒鉛 |
標準仕上げ | 防食プライマーおよびトップコート |
主なアプリケーション シナリオ | 海洋オープンデッキ、海洋プラットフォーム、港湾施設、産業用屋外設備 |
いいえ。 | 名前と仕様 | 材料 |
1 | ハッチカバーアセンブリ | STEEL |
2 | アセンブリのコーミング | STEEL |
3 | ハッチガスケット | ネオプレン |
4 | ハンドホイールアセンブリ | STEEL |
5 | センターシャフト | ステンレス鋼 |
6 | ジャムナッツ | ステンレス鋼 |
7 | スプロケットの調整 | STEEL |
8 | ドッグポケットの組み立て | STEEL |
9 | コッターピン | ステンレス鋼 |
10 | 犬の腕 | ステンレス鋼 |
11 | ヒンジピン | ステンレス鋼 |
12 | ヒンジスプリング | ステンレス鋼 |
13 | ブッシング | ナイロン |
14 | パッキング | 黒鉛 |
15 | ドッグアームピン | ステンレス鋼 |
16 | 回転ブロックアセンブリ | ステンレス鋼 |
17 | スイベルガイド | 真鍮 |
18 | 調整ボタン | STEEL |
19 | スイベルガイドスプリング | ステンレス鋼 |
20 | グリスフィッティング | ステンレス鋼 |
21 | ワッシャー | ステンレス鋼 |
22 | スクリュー | ステンレス鋼 |
23 | スリーブ | STEEL |
24 | スリーブ | STEEL |
25 | シェル | STEEL |
26 | ヒンジブレード | STEEL |
27 | スプリングサポート | STEEL |
28 | スプリング固定器のサポート | STEEL |
29 | コッターピン | ステンレス鋼 |
30 | 鍵 | ステンレス鋼 |
31 | ワッシャー | ステンレス鋼 |
この ハンドホイール操作の耐候性ハッチは 、集中ハンドホイール駆動システムを備えており、工具を使わずに 1 人で数秒で開閉できるため、メンテナンス効率が大幅に向上し、過酷な気象条件での操作時間が短縮されます。
高弾性ネオプレン ガスケットと多点均一ロック構造の組み合わせにより、連続的な耐候性シールを形成し、雨水、波しぶき、砂、塵、風が密閉空間に侵入するのを効果的に遮断し、過酷な屋外要素から内部機器と人員を保護します。
主な構造は、優れた耐衝撃性と耐荷重能力を備えた高強度構造用鋼で製造されており、船舶や海洋プラットフォームへの動的な振動や衝撃荷重に適応し、変形のない長期的な構造的完全性を保証します。
すべてのコアの回転コンポーネント、ロックコンポーネント、およびファスナーコンポーネントはステンレス鋼で作られており、オプションで防食アップグレードを行うことで、塩霧腐食や屋外風化に対する優れた耐性を実現し、耐用年数を延長し、 産業用屋外耐候性アクセスハッチ 用途の長期メンテナンスコストを削減します。
モジュラー設計により、複雑な分解を行わずに、シーリングガスケット、ブッシング、スプリングなどの摩耗部品を迅速に交換できるため、メンテナンスや修理のためのダウンタイムが最小限に抑えられます。
即効 性の耐候性ハッチは、 ハンドル駆動の集中同期ロック システムによって作動します。ハンドホイールを回転させると、中央のステンレススチールシャフトが回転し、調整スプロケットと複数のドッグアームが作動して、同期した均一なロックまたはリリースを実現します。ハンドホイールからの回転トルクは、ハッチ カバーの全周にわたるバランスのとれた圧縮力に変換され、ハッチ カバーとコーミングの間のネオプレン シーリング ガスケットを均等に圧縮して、連続した隙間のない耐候性シールを形成します。バネ補助ヒンジ構造により開く力が軽減され、ナイロン ブッシングとグラファイト パッキンにより回転部品のスムーズで耐摩耗性の高い動作が保証されます。ロック状態では、ハッチは強風、大雨、波しぶきに耐え、屋外や海洋のダイナミックな環境でも安定したシール性能を維持します。
取り付ける前に、取り付け面の開口部のサイズがハッチコーミングの寸法と一致していることを確認し、取り付け後にシーリングガスケットに不均一な応力がかからないよう、取り付け面が平らで水平であることを確認してください。
完全かつ均一な溶接でコーミングを設置ベースに溶接し、コーミングが垂直に位置合わせされ、溶接変形がないことを確認します。溶接後は溶接スラグを除去し、錆や腐食を防ぐために溶接部に防食塗装を施します。
ハンドルホイール、回転軸、ヒンジ部品には 3 か月ごとに防水グリースを塗布してください。 6 か月ごとにネオプレン シーリング ガスケットの摩耗と劣化を検査し、損傷が見つかった場合は直ちに交換してください。一貫した耐候性能を確保するために、ロック ドッグ アームの気密性を毎年確認してください。
はい、海洋オープンデッキ、オフショアプラットフォーム、その他の過酷な屋外海洋環境向けに特別に設計されており、波しぶき、塩霧、大雨、強風、砂浸食に対して優れた耐性を備えています。
はい、シングル ハンドホイールの速動設計により、過酷な気象条件でも、工具を使わずに 1 人で数秒で開閉でき、メンテナンスとアクセスの効率が向上します。
当社は、特定のプロジェクトや用途の要件を満たすために、サイズ調整、溶融亜鉛メッキ仕上げ、フルステンレス鋼構造、カスタムコーミング高さを含むカスタムサービスを提供します。
DF-274-5 2犬の飼育水密集ハッチ HEE(Changshu Haichuan Engineering&Equipment Co.、Ltd。)が設計したプレミアムマリンデッキフィッティングです。過酷な海洋環境での信頼できる耐水性の重要なニーズに対処するように設計されたこのハッチは、甲板の開口部の保護障壁として機能し、船舶、オフショアプラットフォーム、またはポートインフラストラクチャの内部成分を損傷する可能性のある給水、粉塵の蓄積、腐食を防ぎます。