DF-192
HEE
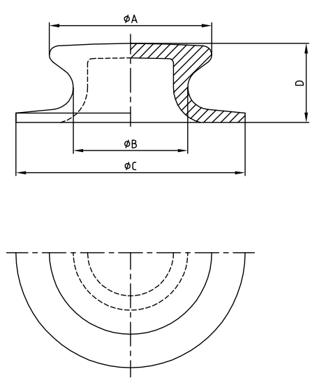
鋳鋼6 'ボタンチョック
| モデル番号 | φa | φb | φc | D | wt。(lbs) |
| DF-192 | 8 1/2 ' | 6 ' | 12 ' | 4 1/8 ' | 40 |
Cast Steel Marine Button Chockは、 中型係留アプリケーションでのロープガイダンスと負荷分布のための最適化されたソリューションを表し、パフォーマンスとコンパクトデザインのバランスをとります。沿岸船とワークボートは、安全性を維持しながらデッキスペースを最小限に抑える信頼できる係留装置を必要とするため、このボタンチョックはスペース効率の良いパッケージで例外的な機能を提供します。 で構成されており、 600 kN (61トン)の安全な作業荷重(SWL) を備えた ASTM A27鋳造鋼 ロープの圧力を均等に分配するために円形パターンに配置された測定値は、30mmから60mmのロープの直径を収容し、沿岸および内陸の水路で動作するタグボート、フェリー、および沖合の供給船に最適です。 6ボタン構成を備えています。 3インチのプロファイルで 直径18インチの
6つの硬化したスチールボタン(直径3インチ)は、六角形のパターンに戦略的に配置され、 ロープ表面にこの構成により、2ボタンのデザインと比較して、係留ラインの局所的なストレスが40%減少し、ロープサービスの寿命が延びています。各ボタンは独立して回転し、ロープの動き中の摩擦を最小限に抑えます。 均一な圧力点を作成します。
ワンピース鋳鉄製のボディは、 過度の重量なしで剛性を高める直径10インチのロープの喉は、合成係留ライン用に最適化された12:1のベンド比を備えた滑らかで放射される表面を備えています。ベースフランジには、さまざまなデッキ表面に安全に取り付けられる8つの等間隔の取り付け穴が含まれています。 積分強化リブを特徴としています(総重量120 kg)。
Chockは、ASTM A123標準ごとに 産業用亜鉛めっき (厚さ85μm)を受け、その後、重要なエリアで海洋グレードのエポキシトップコートが続きます。この二重保護システムは、塩水環境と淡水環境の両方に適した1,200時間以上の塩噴霧耐性を提供します。すべてのボタンピボットポイントは、腐食による押収を防ぐために316ステンレス鋼ピンを使用します。
複数の接点ポイントは、より大きなロープ表面積に負荷を分配し、 早期のロープ故障を引き起こすこのデザインは、ロープストレッチと疲労を最小限に抑え、シングルボタンチョックと比較してサービス寿命を最大50%延長します。 局所的な応力濃度を減らします。
コンパクトなデザインにより、 タグボート, の沿岸フェリーワーク, ボートや、デッキ スペースが制限されているが信頼性の高い係留パフォーマンスが重要なその中間型容量は、保護された水域と近沿いの海域で動作する船舶の要件と一致します。 オフショア供給船に最適です。
閉じたチョックは最大のロープ封じ込めを提供しますが、ボタンチョックは優れた ロープ処理の柔軟性 とメンテナンスのアクセスを容易にします。オープンデザインにより、操作中のロープ状態の目視検査が可能になり、ロープパスからの破片の洗浄が簡素化されます。
毎月の検査では、ボタンの回転、腐食、ロープ摩耗パターンを確認する必要があります。ボタンは、海洋グレードグリースと取り付けハードウェアトルク検証で四半期ごとに潤滑される必要があります。年間検査には、測定ボタン摩耗が含まれます(直径が最大2mm減少)。
はい、それはフィッティングを係留するために ISO 13713に準拠しており 、ABSやLRを含む分類社会によって認定されています。このデザインは、沿岸および近海の海域で動作する船舶のソラの要件を満たしています。
鋳鋼6 'ボタンチョック
| モデル番号 | φa | φb | φc | D | wt。(lbs) |
| DF-192 | 8 1/2 ' | 6 ' | 12 ' | 4 1/8 ' | 40 |
Cast Steel Marine Button Chockは、 中型係留アプリケーションでのロープガイダンスと負荷分布のための最適化されたソリューションを表し、パフォーマンスとコンパクトデザインのバランスをとります。沿岸船とワークボートは、安全性を維持しながらデッキスペースを最小限に抑える信頼できる係留装置を必要とするため、このボタンチョックはスペース効率の良いパッケージで例外的な機能を提供します。 で構成されており、 600 kN (61トン)の安全な作業荷重(SWL) を備えた ASTM A27鋳造鋼 ロープの圧力を均等に分配するために円形パターンに配置された測定値は、30mmから60mmのロープの直径を収容し、沿岸および内陸の水路で動作するタグボート、フェリー、および沖合の供給船に最適です。 6ボタン構成を備えています。 3インチのプロファイルで 直径18インチの
6つの硬化したスチールボタン(直径3インチ)は、六角形のパターンに戦略的に配置され、 ロープ表面にこの構成により、2ボタンのデザインと比較して、係留ラインの局所的なストレスが40%減少し、ロープサービスの寿命が延びています。各ボタンは独立して回転し、ロープの動き中の摩擦を最小限に抑えます。 均一な圧力点を作成します。
ワンピース鋳鉄製のボディは、 過度の重量なしで剛性を高める直径10インチのロープの喉は、合成係留ライン用に最適化された12:1のベンド比を備えた滑らかで放射される表面を備えています。ベースフランジには、さまざまなデッキ表面に安全に取り付けられる8つの等間隔の取り付け穴が含まれています。 積分強化リブを特徴としています(総重量120 kg)。
Chockは、ASTM A123標準ごとに 産業用亜鉛めっき (厚さ85μm)を受け、その後、重要なエリアで海洋グレードのエポキシトップコートが続きます。この二重保護システムは、塩水環境と淡水環境の両方に適した1,200時間以上の塩噴霧耐性を提供します。すべてのボタンピボットポイントは、腐食による押収を防ぐために316ステンレス鋼ピンを使用します。
複数の接点ポイントは、より大きなロープ表面積に負荷を分配し、 早期のロープ故障を引き起こすこのデザインは、ロープストレッチと疲労を最小限に抑え、シングルボタンチョックと比較してサービス寿命を最大50%延長します。 局所的な応力濃度を減らします。
コンパクトなデザインにより、 タグボート, の沿岸フェリーワーク, ボートや、デッキ スペースが制限されているが信頼性の高い係留パフォーマンスが重要なその中間型容量は、保護された水域と近沿いの海域で動作する船舶の要件と一致します。 オフショア供給船に最適です。
閉じたチョックは最大のロープ封じ込めを提供しますが、ボタンチョックは優れた ロープ処理の柔軟性 とメンテナンスのアクセスを容易にします。オープンデザインにより、操作中のロープ状態の目視検査が可能になり、ロープパスからの破片の洗浄が簡素化されます。
毎月の検査では、ボタンの回転、腐食、ロープ摩耗パターンを確認する必要があります。ボタンは、海洋グレードグリースと取り付けハードウェアトルク検証で四半期ごとに潤滑される必要があります。年間検査には、測定ボタン摩耗が含まれます(直径が最大2mm減少)。
はい、それはフィッティングを係留するために ISO 13713に準拠しており 、ABSやLRを含む分類社会によって認定されています。このデザインは、沿岸および近海の海域で動作する船舶のソラの要件を満たしています。
DF-274-5 2犬の飼育水密集ハッチ HEE(Changshu Haichuan Engineering&Equipment Co.、Ltd。)が設計したプレミアムマリンデッキフィッティングです。過酷な海洋環境での信頼できる耐水性の重要なニーズに対処するように設計されたこのハッチは、甲板の開口部の保護障壁として機能し、船舶、オフショアプラットフォーム、またはポートインフラストラクチャの内部成分を損傷する可能性のある給水、粉塵の蓄積、腐食を防ぎます。