DF-497
HEE
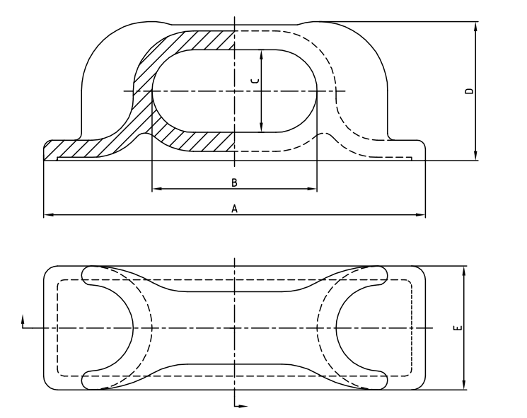
鋳鉄製のcol
| モデル番号 | A | B | C | D | E | wt。(lbs) |
| DF-497 | 19 3/4 ' | 8 ' | 4 ' | 6 3/4 ' | 6 ' | 84 |
| DF-480 | 27 3/4 ' | 12 ' | 6 ' | 10 1/8 ' | 9 ' | 191 |
| DF-490 | 36 ' | 16 ' | 8 ' | 13 3/8 ' | 12 ' | 455 |
鋳造 鋼は閉鎖されたマリンチョックは、 ロープの封じ込めと方向性の制御が重要な海洋環境を要求する安全なロープ管理の基準を設定します。船舶のオペレーターは、極端な気象現象や激しい海からの課題に直面しているため、この閉じたタイプの詰まりは、オープンなデザインと比較して優れたロープ保持を提供し、荒れた状態での剥離のリスクを最小限に抑えます。 で構成された 800 kN(81.6トン)の安全な作業荷重(SWL) を備えた ASTM A27グレードの鋳造鋼 チョックは、直径40mmから75mmの合成ロープと鋼鉄のロープを収容する 直径14インチのロープチャネルを備えた完全に囲まれた喉を特徴としています 。そのコンパクトなフットプリント(24×18インチ)は、商業貨物船、沖合の供給船、沿岸パトロールボートにデッキと防波堤の両方の取り付けに適しています。
完全に閉じた喉の構成は、 突然の負荷シフトまたは25°を超える容器ロール中でもロープエスケープを防ぐ滑らかで放射されたチャネルを備えたエントリポートと出口ポートには、摩耗を減らしながらメインチャネルにロープをガイドする15°フレアが含まれます。このデザインは、ロープが一時的にゆるんでいるときに、開いた震えに関連する 'whipping 'の危険を排除します。 360°のロープエンクロージャーを備えています。
寸法精度のためにを使用して製造された 失われたフォーム鋳造 チョックは、2インチの厚さの壁全体で均一な穀物構造を実現します。ワンピース構造は潜在的な故障ポイントを排除し、200 Bhnの硬度への熱処理は並外れた耐摩耗性を提供します。取り付けフランジ周辺の臨界応力領域は、積分リブで補強されています。
Chockは、 2段階の保護コーティングを受け取ります。SA2.5標準にサンドブラストした後、60μmの脂肪族ポリウレタントップコートを使用した後、120μmの亜鉛リッチエポキシプライマーです。このシステムは、ASTM B117テストごとに1,800時間の塩スプレー耐性を提供します。係留線と接触しているすべての表面は、ロープの摩耗を最小限に抑えるためにRA1.6μm仕上げに磨かれています。
囲まれたのどは、突然の負荷の変化や容器の動き中にロープが震えから飛び出すのを防ぎ、乗組員への ライン鞭の負傷のリスク と機器の損傷を排除します。この機能は、嵐の状態または緊急係留操作中に特に価値があります。
滑らかな半径を備えた磨かれたチャネルは、 ダイニーマやポリエステルなどの高性能合成ロープでのこの設計は、内部繊維の損傷を引き起こす可能性のある鋭いエッジを回避し、標準のオープンチョックと比較してロープサービスの寿命を最大30%延長します。 繊維分解を防ぎます。
閉鎖されたマリンチョックは、継手の係留に関する ISO 13713 基準の認定を受けており、国際海域で運営されている船舶のソラ要件を満たしています。 ABS、DNV、Lloydの登録簿を含む主要な分類協会によって承認されています。
はい、対称設計により、パフォーマンスを損なうことなく、 デッキ(水平) と ブルワーク(垂直) 位置の両方に設置できます。取り付けフランジには、さまざまな設置構成に対応するための12の事前に掘削された穴が含まれています。
毎週の検査では、チャネル内のロープ摩耗パターンと破片がないか確認する必要があります。毎月のメンテナンスには、ロープパスの清掃とコーティングの完全性の検査が含まれます。年間検査では、取り付け溶接を検証し、チャネル寸法を測定して過度の摩耗を検出する必要があります(最大許容摩耗は元の直径の5%です)。
鋳鉄製のcol
| モデル番号 | A | B | C | D | E | wt。(lbs) |
| DF-497 | 19 3/4 ' | 8 ' | 4 ' | 6 3/4 ' | 6 ' | 84 |
| DF-480 | 27 3/4 ' | 12 ' | 6 ' | 10 1/8 ' | 9 ' | 191 |
| DF-490 | 36 ' | 16 ' | 8 ' | 13 3/8 ' | 12 ' | 455 |
鋳造 鋼は閉鎖されたマリンチョックは、 ロープの封じ込めと方向性の制御が重要な海洋環境を要求する安全なロープ管理の基準を設定します。船舶のオペレーターは、極端な気象現象や激しい海からの課題に直面しているため、この閉じたタイプの詰まりは、オープンなデザインと比較して優れたロープ保持を提供し、荒れた状態での剥離のリスクを最小限に抑えます。 で構成された 800 kN(81.6トン)の安全な作業荷重(SWL) を備えた ASTM A27グレードの鋳造鋼 チョックは、直径40mmから75mmの合成ロープと鋼鉄のロープを収容する 直径14インチのロープチャネルを備えた完全に囲まれた喉を特徴としています 。そのコンパクトなフットプリント(24×18インチ)は、商業貨物船、沖合の供給船、沿岸パトロールボートにデッキと防波堤の両方の取り付けに適しています。
完全に閉じた喉の構成は、 突然の負荷シフトまたは25°を超える容器ロール中でもロープエスケープを防ぐ滑らかで放射されたチャネルを備えたエントリポートと出口ポートには、摩耗を減らしながらメインチャネルにロープをガイドする15°フレアが含まれます。このデザインは、ロープが一時的にゆるんでいるときに、開いた震えに関連する 'whipping 'の危険を排除します。 360°のロープエンクロージャーを備えています。
寸法精度のためにを使用して製造された 失われたフォーム鋳造 チョックは、2インチの厚さの壁全体で均一な穀物構造を実現します。ワンピース構造は潜在的な故障ポイントを排除し、200 Bhnの硬度への熱処理は並外れた耐摩耗性を提供します。取り付けフランジ周辺の臨界応力領域は、積分リブで補強されています。
Chockは、 2段階の保護コーティングを受け取ります。SA2.5標準にサンドブラストした後、60μmの脂肪族ポリウレタントップコートを使用した後、120μmの亜鉛リッチエポキシプライマーです。このシステムは、ASTM B117テストごとに1,800時間の塩スプレー耐性を提供します。係留線と接触しているすべての表面は、ロープの摩耗を最小限に抑えるためにRA1.6μm仕上げに磨かれています。
囲まれたのどは、突然の負荷の変化や容器の動き中にロープが震えから飛び出すのを防ぎ、乗組員への ライン鞭の負傷のリスク と機器の損傷を排除します。この機能は、嵐の状態または緊急係留操作中に特に価値があります。
滑らかな半径を備えた磨かれたチャネルは、 ダイニーマやポリエステルなどの高性能合成ロープでのこの設計は、内部繊維の損傷を引き起こす可能性のある鋭いエッジを回避し、標準のオープンチョックと比較してロープサービスの寿命を最大30%延長します。 繊維分解を防ぎます。
閉鎖されたマリンチョックは、継手の係留に関する ISO 13713 基準の認定を受けており、国際海域で運営されている船舶のソラ要件を満たしています。 ABS、DNV、Lloydの登録簿を含む主要な分類協会によって承認されています。
はい、対称設計により、パフォーマンスを損なうことなく、 デッキ(水平) と ブルワーク(垂直) 位置の両方に設置できます。取り付けフランジには、さまざまな設置構成に対応するための12の事前に掘削された穴が含まれています。
毎週の検査では、チャネル内のロープ摩耗パターンと破片がないか確認する必要があります。毎月のメンテナンスには、ロープパスの清掃とコーティングの完全性の検査が含まれます。年間検査では、取り付け溶接を検証し、チャネル寸法を測定して過度の摩耗を検出する必要があります(最大許容摩耗は元の直径の5%です)。
DF-274-5 2犬の飼育水密集ハッチ HEE(Changshu Haichuan Engineering&Equipment Co.、Ltd。)が設計したプレミアムマリンデッキフィッティングです。過酷な海洋環境での信頼できる耐水性の重要なニーズに対処するように設計されたこのハッチは、甲板の開口部の保護障壁として機能し、船舶、オフショアプラットフォーム、またはポートインフラストラクチャの内部成分を損傷する可能性のある給水、粉塵の蓄積、腐食を防ぎます。